Мы используем cookie для наилучшего представления нашего сайта. Подробнее об этом в Политике конфиденциальности.
Ок

Каспийск

Ваш город:
Каспийск (Республика Дагестан)?
Нет
Да
Каталог
Каталог Написать в WhatsApp
Мотоэкипировка

Рулевая колонка квадроцикла STELS ATV 300 B

Рулевая колонка квадроцикла STELS ATV 300 B в Каспийске: актуальный каталог, цены, фото, описание. Купите рулевая колонка квадроцикла stels atv 300 b в кредит – оформите заявку онлайн за 1 минуту!

Оригинальные запчасти

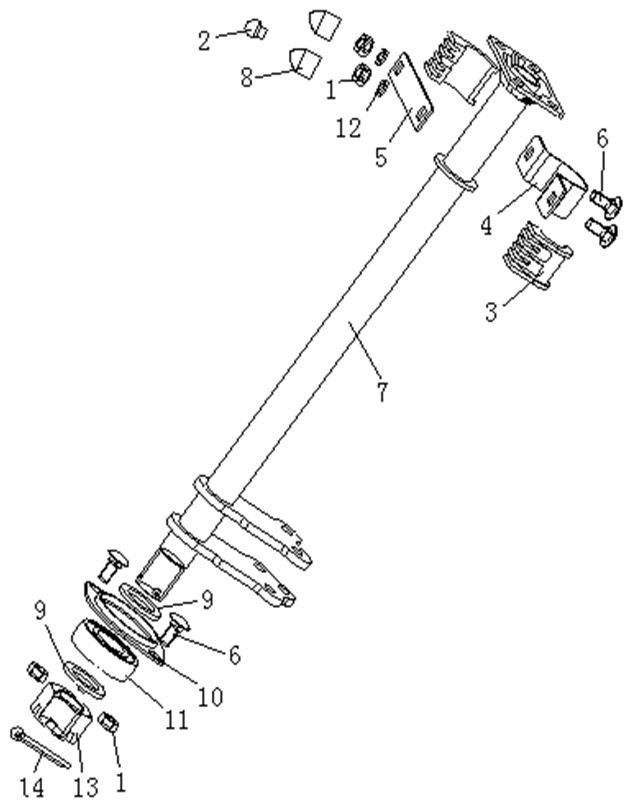
Артикул НАИМЕНОВАНИЕ Кол-во деталей в узле Примечание Наличие Цена Аналоги Фото
1 LU019230 Кронштейн крепления рулевой колонки, задняя часть 1.2.01.0020

Под заказ

1

Под заказ

уточнить

490

Купить
2 LU019231 Кронштейн крепления рулевой колонки, передняя часть 1.2.01.0030

Под заказ

1

Под заказ

уточнить

120

Купить
3 LU019232 Колонка рулевая 1.2.01.0050

Под заказ

1

Под заказ

уточнить

3 060

Купить
4 LU019233 Пластина фиксир.подшипника рулевой колонки, сталь 1.2.01.0080

Под заказ

1

Под заказ

уточнить

110

Купить
5 LU020277 Подшипник шариковый радиальный CS205LU 25х52х15мм 0.05.00300

Под заказ

1

Под заказ

уточнить

590

Купить
6 LU019234 Гайка корончатая M24х2мм, сталь 0.03.01230

Под заказ

1

Под заказ

уточнить

Купить
7 LU019235 Шплинт 5х40мм, сталь 0.08.00400

Под заказ

1

Под заказ

уточнить

Купить

Нулевая цена не означает отсутствие товара. Оформите заказ, и менеджер сообщит вам цену и наличие товара, предварительно запросив их у поставщика

Главная Магазины
Корзина0
Профиль