Мы используем cookie для наилучшего представления нашего сайта. Подробнее об этом в Политике конфиденциальности.
Ок

Каспийск

Ваш город:
Каспийск (Республика Дагестан)?
Нет
Да
Каталог
Каталог Написать в WhatsApp
Мотоэкипировка

Выхлопная система КВАДРОЦИКЛА STELS ATV 700 GT1

Выхлопная система КВАДРОЦИКЛА STELS ATV 700 GT1 в Каспийске: актуальный каталог, цены, фото, описание. Купите выхлопная система квадроцикла stels atv 700 gt1 в кредит – оформите заявку онлайн за 1 минуту!

Оригинальные запчасти

Артикул НАИМЕНОВАНИЕ Кол-во деталей в узле Примечание Наличие Цена Аналоги Фото
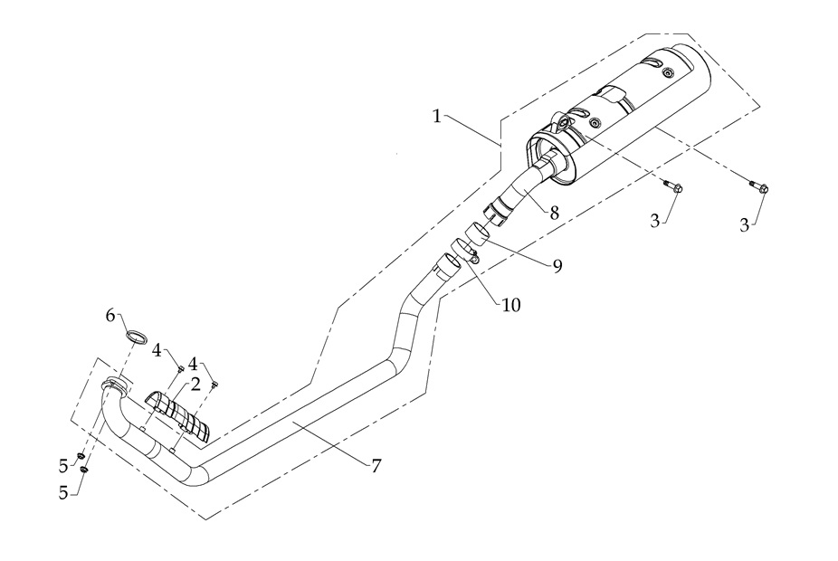
1 LU023331 Труба выхлопная с глушителем (Long), в сборе F210364-00

Под заказ

1

Под заказ

уточнить

11 560

Купить
2 LU013847 Щиток защитный выхлопной трубы, передний, сталь F210150-57

Под заказ

1

Под заказ

уточнить

12 710

Купить
3 LU013785 Гайка с фланцем самоконтр. М8х1.25мм, сталь 9203-08-125

Под заказ

2

Под заказ

уточнить

100

Купить
4 LU013850 Прокладка выхлопной трубы, асбостальная A080127-00

Под заказ

1
Ø41ר50×4.8t
Ø41ר50×4.8t

Под заказ

уточнить

530

Купить
5 LU023334 Труба выхлопная (Long) F210345-00

Под заказ

1

Под заказ

уточнить

1 850

Купить
6 LU013852 Глушитель F210160A00, F210160B00

Под заказ

1

Под заказ

уточнить

8 590

Купить
7 LU016359 Прокладка выхлопной трубы, графит F210170-00

Под заказ

1

Под заказ

уточнить

1 630

Купить
8 LU016360 Хомут выхлопной трубы, сталь F210171-00

Под заказ

1

Под заказ

уточнить

800

Купить

Нулевая цена не означает отсутствие товара. Оформите заказ, и менеджер сообщит вам цену и наличие товара, предварительно запросив их у поставщика

Главная Магазины
Корзина0
Профиль