Мы используем cookie для наилучшего представления нашего сайта. Подробнее об этом в Политике конфиденциальности.
Ок

Каспийск

Ваш город:
Каспийск (Республика Дагестан)?
Нет
Да
Каталог
Каталог Написать в WhatsApp
Мотоэкипировка

Компоненты силовой отделки 2-х тактного ПЛМ MERCURY 40 M Серийный номер от 0N056165 и выше

Компоненты силовой отделки 2-х тактного ПЛМ MERCURY 40 M Серийный номер от 0N056165 и выше в Каспийске: актуальный каталог, цены, фото, описание. Купите компоненты силовой отделки 2-х тактного плм mercury 40 m серийный номер от 0n056165 и выше в кредит – оформите заявку онлайн за 1 минуту!

Оригинальные запчасти

Артикул НАИМЕНОВАНИЕ Кол-во деталей в узле Примечание Наличие Цена Аналоги Фото
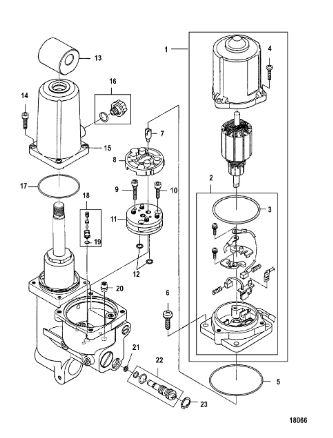
1 8M0097054 POWER TRIM

Под заказ

1

Под заказ

уточнить

Купить
2 827675002 MOTOR

Под заказ

1

Под заказ

уточнить

Купить
3 898101259 BRACKET

Под заказ

1

Под заказ

уточнить

Купить
4 16131014 O-RING (Component of O-Ring Set)

Под заказ

1

Под заказ

уточнить

Купить
5 16078 SCREW, RECTIFIER

Под заказ

3

Под заказ

уточнить

Купить
6 161315 O-RING

Под заказ

1

Под заказ

уточнить

Купить
7 851877002 COUPLING

Под заказ

1

Под заказ

уточнить

Купить
8 851876 FILTER

Под заказ

1

Под заказ

уточнить

Купить
9 8518663 BOLT

Под заказ

1

Под заказ

уточнить

Купить
10 8518664 BOLT

Под заказ

2

Под заказ

уточнить

Купить
11 827674002 PUMP

Под заказ

1

Под заказ

уточнить

Купить
12 161314 O-RING

Под заказ

2

Под заказ

уточнить

Купить
13 853768001 JOINT, (Metal)

Под заказ

1

Под заказ

уточнить

Купить
14 8M0131044 TANK - RESERVOIR

Под заказ

1

Под заказ

уточнить

Купить
15 896440A01 CAP ASSEMBLY

Под заказ

1

Под заказ

уточнить

Купить
16 16131A05 O-RING SET

Под заказ

1

Под заказ

уточнить

Купить
17 827672A05 RELIEF VALVE ASSEMBLY

Под заказ

1

Под заказ

уточнить

Купить
18 813442A04 VALVE ASSEMBLY

Под заказ

1

Под заказ

уточнить

Купить
19 95392015 WASHER, Sealing

Под заказ

1

Под заказ

уточнить

Купить
20 813442A03 MANUAL VALVE ASSEMBLY

Под заказ

1

Под заказ

уточнить

Купить
21 804027004 C RING

Под заказ

1

Под заказ

уточнить

Купить

Нулевая цена не означает отсутствие товара. Оформите заказ, и менеджер сообщит вам цену и наличие товара, предварительно запросив их у поставщика

Главная Магазины
Корзина0
Профиль