Мы используем cookie для наилучшего представления нашего сайта. Подробнее об этом в Политике конфиденциальности.
Ок

Каспийск

Ваш город:
Каспийск (Республика Дагестан)?
Нет
Да
Каталог
Каталог Написать в WhatsApp
Мотоэкипировка

Кронштейн транца(50/60)(S/N: 0D181999 и ниже) 2-Х ТАКТНОГО ПЛМ MERCURY 50EO Серийный номер от 0D000750 до 0G290584

Кронштейн транца(50/60)(S/N: 0D181999 и ниже) 2-Х ТАКТНОГО ПЛМ MERCURY 50EO Серийный номер от 0D000750 до 0G290584 в Каспийске: актуальный каталог, цены, фото, описание. Купите кронштейн транца(50/60)(s/n: 0d181999 и ниже) 2-х тактного плм mercury 50eo серийный номер от 0d000750 до 0g290584 в кредит – оформите заявку онлайн за 1 минуту!

Оригинальные запчасти

Артикул НАИМЕНОВАНИЕ Кол-во деталей в узле Примечание Наличие Цена Аналоги Фото
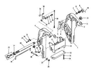
1 9751A1 TRANSOM BRACKET

Под заказ

1

Под заказ

уточнить

Купить
2 9751A2 TRANSOM BRACKET

Под заказ

1

Под заказ

уточнить

Купить
3 98727 GREASE FITTING, PORT TRANSOM BRACKET

Под заказ

1

Под заказ

уточнить

Купить
4 99604 GROOVE PIN

Под заказ

1

Под заказ

уточнить

Купить
5 9750T TRANSOM BRACKET

Под заказ

1

Под заказ

уточнить

Купить
6 9750T6 TRANSOM BRACKET

Под заказ

1

Под заказ

уточнить

Купить
7 893704T01 Упор двигателя (LEVER, Tilt Lock)

Под заказ

1

Под заказ

уточнить

Купить
8 19618A3 TILT LOCK LEVER

Под заказ

1

Под заказ

уточнить

Купить
9 99622 SPRING

Под заказ

1

Под заказ

уточнить

Купить
10 65830 BUSHING, TILT LEVER

Под заказ

1

Под заказ

уточнить

Купить
11 812708 SPRING

Под заказ

1

Под заказ

уточнить

Купить
12 812709 KNOB

Под заказ

1

Под заказ

уточнить

Купить
13 812709T6 KNOB

Под заказ

1

Под заказ

уточнить

Купить
14 99615 GROOVE PIN

Под заказ

1

Под заказ

уточнить

Купить
15 19619 Шайба (WASHER)

Под заказ

2

Под заказ

уточнить

Купить
16 18486F5 ANCHOR BRACKET

Под заказ

1

Под заказ

уточнить

Купить
17 18486F6 ANCHOR BRACKET

Под заказ

1

Под заказ

уточнить

Купить
18 818298Q1 Комплект анодов (ANODE KIT)

Под заказ

1

Под заказ

уточнить

Купить
19 4000330 Болт (SCREW @5)

Под заказ

2

Под заказ

уточнить

Купить
20 29245 Шайба (WASHER @10)

Под заказ

2

Под заказ

уточнить

Купить
21 4000354 Винт (SCREW, BEARING CARRIER)

Под заказ

5

Под заказ

уточнить

Купить
22 4000355 SCREW, TRIM TAB (35MM)

Под заказ

1

Под заказ

уточнить

Купить
23 401388 Гайка (NUT, M8)

Под заказ

2

Под заказ

уточнить

Купить
24 19613A1 TILT PIN ASSEMBLY

Под заказ

1

Под заказ

уточнить

Купить
25 8M0026068 PIN ASY-TILT

Под заказ

1

Под заказ

уточнить

Купить
26 8M0041938 Трубка штока рулевого троса (TILT TUBE)

Под заказ

1

Под заказ

уточнить

Купить
27 858869 Гайка (NUT, (.875-14))

Под заказ

2

Под заказ

уточнить

Купить
28 19624A1 Набор крепления поворотной штанги (SEAL KIT)

Под заказ

1

Под заказ

уточнить

Купить
29 22740 CLIP

Под заказ

1

Под заказ

уточнить

Купить
30 8M0084613 WASHER

Под заказ

1

Под заказ

уточнить

Купить
31 878607 SCREW, (#10-16 x .375)

Под заказ

1

Под заказ

уточнить

Купить
32 8M0084737 LINK

Под заказ

1

Под заказ

уточнить

Купить
33 19615A05 TILT LEVER ASSY

Под заказ

1

Под заказ

уточнить

Купить
34 812707 Втулка (BUSHING)

Под заказ

1

Под заказ

уточнить

Купить
35 815796 WASHER (.030 IN.)

Под заказ

1

Под заказ

уточнить

Купить
36 99611 WAVE WASHER, TILT LEVER

Под заказ

1

Под заказ

уточнить

Купить
37 8M0007469 Крышка рукоятки стопора (KNOB-TILT)

Под заказ

1

Под заказ

уточнить

Купить
38 19611 SCREW

Под заказ

1

Под заказ

уточнить

Купить

Нулевая цена не означает отсутствие товара. Оформите заказ, и менеджер сообщит вам цену и наличие товара, предварительно запросив их у поставщика

Главная Магазины
Корзина0
Профиль