Мы используем cookie для наилучшего представления нашего сайта. Подробнее об этом в Политике конфиденциальности.
Ок

Каспийск

Ваш город:
Каспийск (Республика Дагестан)?
Нет
Да
Каталог
Каталог Написать в WhatsApp
Мотоэкипировка

Струйный насос в сборе 2-Х ТАКТНОГО ПЛМ MERCURY 50EO Серийный номер от 0G590000 до 0G760299

Струйный насос в сборе 2-Х ТАКТНОГО ПЛМ MERCURY 50EO Серийный номер от 0G590000 до 0G760299 в Каспийске: актуальный каталог, цены, фото, описание. Купите струйный насос в сборе 2-х тактного плм mercury 50eo серийный номер от 0g590000 до 0g760299 в кредит – оформите заявку онлайн за 1 минуту!

Оригинальные запчасти

Артикул НАИМЕНОВАНИЕ Кол-во деталей в узле Примечание Наличие Цена Аналоги Фото
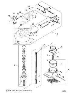
1 856143A5 JET PUMP ASSEMBLY

Под заказ

1

Под заказ

уточнить

Купить
2 801411401 HOUSING-PUMP

Под заказ

1

Под заказ

уточнить

Купить
3 827490 Шланг шприцевания водомета (HOSE-LUBE)

Под заказ

1

Под заказ

уточнить

Купить
4 855708T40 Импеллер водомета (IMPELLER)

Под заказ

1

Под заказ

уточнить

Купить
5 80141240 Корпус импеллера (HSG ASSY-INTAKE)

Под заказ

1

Под заказ

уточнить

Купить
6 827188T1 Кольцо импеллера (LINER)

Под заказ

1

Под заказ

уточнить

Купить
7 801413401 DRIVESHAFT

Под заказ

1

Под заказ

уточнить

Купить
8 827189 Втулка (SLEEVE-SHAFT)

Под заказ

1

Под заказ

уточнить

Купить
9 827190 Гайка крепления импеллера 25ML Jet

Под заказ

1

Под заказ

уточнить

Купить
10 801405625 Шпонка импеллера для 25ML JET (KEY)

Под заказ

1

Под заказ

уточнить

Купить
11 801404625 Шайба импеллера на ME-25 ML JET (SHIM)

Под заказ

8

Под заказ

уточнить

Купить
12 801403625 Фиксатор гайки (WASHER-TAB)

Под заказ

1

Под заказ

уточнить

Купить
13 90192 Болт (1/4-20 X 3/4") (SCREW)

Под заказ

6

Под заказ

уточнить

Купить
14 35044 WASHER, (.281 x .625 x .065) Stainless Steel

Под заказ

4

Под заказ

уточнить

Купить
15 19923062 SCREW (1/4-20 X .625)

Под заказ

2

Под заказ

уточнить

Купить
16 60411 SCREW (.312-18 X 1.25)

Под заказ

1

Под заказ

уточнить

Купить
17 801410 BRACKET-CABLE SUPPORT

Под заказ

1

Под заказ

уточнить

Купить
18 82670910 Гайга самоконтр. (NUT, (.312-18) Stainless Steel)

Под заказ

1

Под заказ

уточнить

Купить
19 801406 PIN-DOWEL

Под заказ

2

Под заказ

уточнить

Купить
20 19924250 Болт (SCREW 0.312-18 X 2-1/2 IN.)

Под заказ

2

Под заказ

уточнить

Купить
21 19924275 SCREW, (.312-18 x 2.75)

Под заказ

2

Под заказ

уточнить

Купить
22 814806 Шайба (WASHER)

Под заказ

4

Под заказ

уточнить

Купить
23 19925125 Болт (SCREW (3/8-16 x 1-1/4") With Dry Loc)

Под заказ

1

Под заказ

уточнить

Купить
24 853881 ADAPTOR

Под заказ

1

Под заказ

уточнить

Купить
25 1993330 SCREW (M10 x 1.5 x 30)

Под заказ

1

Под заказ

уточнить

Купить
26 F8015 PLAIN WASHER

Под заказ

6

Под заказ

уточнить

Купить
27 821327 Шпонка (DOWEL PIN)

Под заказ

2

Под заказ

уточнить

Купить

Нулевая цена не означает отсутствие товара. Оформите заказ, и менеджер сообщит вам цену и наличие товара, предварительно запросив их у поставщика

Главная Магазины
Корзина0
Профиль