Мы используем cookie для наилучшего представления нашего сайта. Подробнее об этом в Политике конфиденциальности.
Ок

Каспийск

Ваш город:
Каспийск (Республика Дагестан)?
Нет
Да
Каталог
Каталог Написать в WhatsApp
Мотоэкипировка

Компоненты силовой отделки (S/# 0G357070 и ниже) (BLACK FILL) 2-Х ТАКТНОГО ПЛМ MERCURY 60 Серийный номер от 9885345 до 9973099

Компоненты силовой отделки (S/# 0G357070 и ниже) (BLACK FILL) 2-Х ТАКТНОГО ПЛМ MERCURY 60 Серийный номер от 9885345 до 9973099 в Каспийске: актуальный каталог, цены, фото, описание. Купите компоненты силовой отделки (s/# 0g357070 и ниже) (black fill) 2-х тактного плм mercury 60 серийный номер от 9885345 до 9973099 в кредит – оформите заявку онлайн за 1 минуту!

Оригинальные запчасти

Артикул НАИМЕНОВАНИЕ Кол-во деталей в узле Примечание Наличие Цена Аналоги Фото
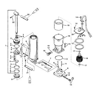
1 830150T2 POWER TRIM PUMP

Под заказ

1

Под заказ

уточнить

Купить
2 893943A01 Шток гидроцилиндра (SHOCK ROD KIT)

Под заказ

1

Под заказ

уточнить

Купить
3 813428 CYLINDER END CAP ASSEMBLY

Под заказ

1

Под заказ

уточнить

Купить
4 813429 SHOCK PISTON ASSEMBLY

Под заказ

1

Под заказ

уточнить

Купить
5 813432A3 CYLINDER SEAL KIT

Под заказ

1

Под заказ

уточнить

Купить
6 810776 MEMORY PISTON KIT

Под заказ

1

Под заказ

уточнить

Купить
7 893904T01 Гидроцилиндр (CYLINDER ASSY)

Под заказ

1

Под заказ

уточнить

Купить
8 811678A6 Ремкомплект гидроцилиндра (SCREW AND SEAL KIT)

Под заказ

1

Под заказ

уточнить

Купить
9 8116706 PUMP/MANIFOLD

Под заказ

1

Под заказ

уточнить

Купить
10 823180A1 ROCKER ARM

Под заказ

1

Под заказ

уточнить

Купить
11 813436 SCREW KIT, 4 Pieces

Под заказ

1

Под заказ

уточнить

Купить
12 811672A4 O RING KIT

Под заказ

1

Под заказ

уточнить

Купить
13 893929A01 Клапан (VALVE KIT-RELIEF)

Под заказ

1

Под заказ

уточнить

Купить
14 813446 SCREW

Под заказ

1

Под заказ

уточнить

Купить
15 811674 RESERVOIR/MOTOR

Под заказ

1

Под заказ

уточнить

Купить
16 811675 ARMATURE

Под заказ

1

Под заказ

уточнить

Купить
17 811676 THRUST WASHER KIT

Под заказ

1

Под заказ

уточнить

Купить
18 811673 RESERVOIR

Под заказ

1

Под заказ

уточнить

Купить
19 8134351 Пробка (PLUG)

Под заказ

1

Под заказ

уточнить

Купить
20 811677 RESERVOIR CAP KIT

Под заказ

1

Под заказ

уточнить

Купить
21 19607 PIN, Cylinder Mount

Под заказ

1

Под заказ

уточнить

Купить
22 821539 Шпонка (PIN-TRILOBE)

Под заказ

2

Под заказ

уточнить

Купить
23 822869001 PIN, Upper

Под заказ

1

Под заказ

уточнить

Купить

Нулевая цена не означает отсутствие товара. Оформите заказ, и менеджер сообщит вам цену и наличие товара, предварительно запросив их у поставщика

Главная Магазины
Корзина0
Профиль