Мы используем cookie для наилучшего представления нашего сайта. Подробнее об этом в Политике конфиденциальности.
Ок

Каспийск

Ваш город:
Каспийск (Республика Дагестан)?
Нет
Да
Каталог
Каталог Написать в WhatsApp
Мотоэкипировка

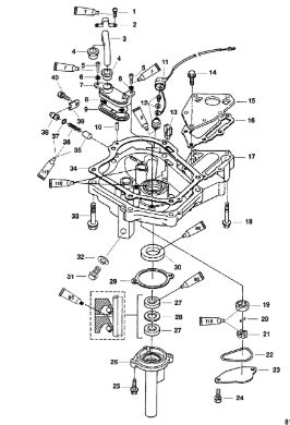
Маслосборник 4-Х ТАКТНОГО ПЛМ MERCURY 4 Серийный номер от 0P401000 и выше

Маслосборник 4-Х ТАКТНОГО ПЛМ MERCURY 4 Серийный номер от 0P401000 и выше в Каспийске: актуальный каталог, цены, фото, описание. Купите маслосборник 4-х тактного плм mercury 4 серийный номер от 0p401000 и выше в кредит – оформите заявку онлайн за 1 минуту!

Оригинальные запчасти

Артикул НАИМЕНОВАНИЕ Кол-во деталей в узле Примечание Наличие Цена Аналоги Фото
1 82303110 SCREW, (M5 x 16)

Под заказ

1

Под заказ

уточнить

Купить
2 803543 STOPPER

Под заказ

1

Под заказ

уточнить

Купить
3 952237 TUBING

Под заказ

1

Под заказ

уточнить

Купить
4 8035202 SEAL

Под заказ

2

Под заказ

уточнить

Купить
5 855558 SCREW, (M5 x 16)

Под заказ

2

Под заказ

уточнить

Купить
6 160721 WASHER

Под заказ

2

Под заказ

уточнить

Купить
7 803540 HOUSING, Strainer

Под заказ

1

Под заказ

уточнить

Купить
8 803542 STRAINER

Под заказ

1

Под заказ

уточнить

Купить
9 803541 CUP

Под заказ

1

Под заказ

уточнить

Купить
10 803539 LEAD WIRE

Под заказ

1

Под заказ

уточнить

Купить
11 803538 Выключатель датчика давления масла (SWITCH)

Под заказ

1

Под заказ

уточнить

Купить
12 8035135 GROMMET

Под заказ

1

Под заказ

уточнить

Купить
13 803532001 EXHAUST PLATE

Под заказ

1

Под заказ

уточнить

Купить
14 803508015 Прокладка (+TH 3H6-02305-0D0)

Под заказ

1

Под заказ

уточнить

Купить
15 803531T Поддон (PAN, Oil)

Под заказ

1

Под заказ

уточнить

Купить
16 168306 BOLT, (M6 x 40)

Под заказ

3

Под заказ

уточнить

Купить
17 8035331 ROTOR, Outer

Под заказ

1

Под заказ

уточнить

Купить
18 162563 PIN

Под заказ

1

Под заказ

уточнить

Купить
19 803533 ROTOR, Inner

Под заказ

1

Под заказ

уточнить

Купить
20 803513010 Кольцо (O-RING)

Под заказ

1

Под заказ

уточнить

Купить
21 803534 COVER

Под заказ

1

Под заказ

уточнить

Купить
22 168287 BOLT, (M6 x 16)

Под заказ

2

Под заказ

уточнить

Купить
23 167051 Болт (BOLT)

Под заказ

2

Под заказ

уточнить

Купить
24 8150162 HOUSING-OIL SEAL

Под заказ

1

Под заказ

уточнить

Купить
25 815018 Втулка (SPACER)

Под заказ

1

Под заказ

уточнить

Купить
26 8M0101648 Сальник (SEAL)

Под заказ

1

Под заказ

уточнить

Купить
27 803509021 Болт (BOLT-DRAIN)

Под заказ

1

Под заказ

уточнить

Купить
28 8035161 Шайба (WASHER)

Под заказ

1

Под заказ

уточнить

Купить
29 8150685 BOLT, (M8 x 40)

Под заказ

6

Под заказ

уточнить

Купить
30 803508014 Прокладка (+TH 3H6-07402-0C0)

Под заказ

1

Под заказ

уточнить

Купить
31 803535 CONTROL PLUNGER

Под заказ

1

Под заказ

уточнить

Купить
32 8035541 SPRING

Под заказ

1

Под заказ

уточнить

Купить
33 168231 O-RING, Oil Pan Seat

Под заказ

1

Под заказ

уточнить

Купить
34 803536 SEAT

Под заказ

1

Под заказ

уточнить

Купить
35 803537 COVER

Под заказ

1

Под заказ

уточнить

Купить
36 8M0101710 Прокладка (GASKET SET)

Под заказ

1

Под заказ

уточнить

Купить
37 804797T06 *** *Двигательный блок в сборе (PH 4-6 4S)

Под заказ

1

Под заказ

уточнить

Купить

Нулевая цена не означает отсутствие товара. Оформите заказ, и менеджер сообщит вам цену и наличие товара, предварительно запросив их у поставщика

Главная Магазины
Корзина0
Профиль