Мы используем cookie для наилучшего представления нашего сайта. Подробнее об этом в Политике конфиденциальности.
Ок

Каспийск

Ваш город:
Каспийск (Республика Дагестан)?
Нет
Да
Каталог
Каталог Написать в WhatsApp
Мотоэкипировка

Поворотный кронштейн, Power Tilt 4-Х ТАКТНОГО ПЛМ MERCURY 8 Серийный номер от 0P325500 и выше

Поворотный кронштейн, Power Tilt 4-Х ТАКТНОГО ПЛМ MERCURY 8 Серийный номер от 0P325500 и выше в Каспийске: актуальный каталог, цены, фото, описание. Купите поворотный кронштейн, power tilt 4-х тактного плм mercury 8 серийный номер от 0p325500 и выше в кредит – оформите заявку онлайн за 1 минуту!

Оригинальные запчасти

Артикул НАИМЕНОВАНИЕ Кол-во деталей в узле Примечание Наличие Цена Аналоги Фото
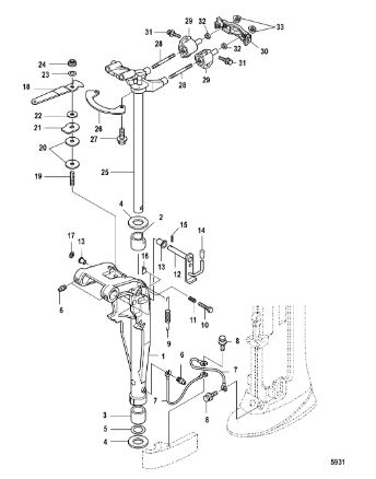
1 813029T25 SWIVEL BRACKET

Под заказ

1

Под заказ

уточнить

Купить
2 16336009 BUSHING, Upper

Под заказ

1

Под заказ

уточнить

Купить
3 163363 BUSHING

Под заказ

1

Под заказ

уточнить

Купить
4 161091 O-RING

Под заказ

1

Под заказ

уточнить

Купить
5 824969 Фиттинг (FITTING, Grease)

Под заказ

3

Под заказ

уточнить

Купить
6 898101091 Провод (WIRE, Ground)

Под заказ

1

Под заказ

уточнить

Купить
7 8230427 BOLT, (M6 x 12)

Под заказ

2

Под заказ

уточнить

Купить
8 95383010 SPRING

Под заказ

1

Под заказ

уточнить

Купить
9 953831 SPRING

Под заказ

1

Под заказ

уточнить

Купить
10 8M0120641 TILT STOPPER

Под заказ

1

Под заказ

уточнить

Купить
11 95286027 COLLAR

Под заказ

2

Под заказ

уточнить

Купить
12 16208 GRIP, TILT STOP

Под заказ

1

Под заказ

уточнить

Купить
13 95218017 PIN, Spring

Под заказ

1

Под заказ

уточнить

Купить
14 813026002 FRICTION PIECE

Под заказ

1

Под заказ

уточнить

Купить
15 168261 WASHER

Под заказ

1

Под заказ

уточнить

Купить
16 895171 Рукоятка (HANDLE)

Под заказ

1

Под заказ

уточнить

Купить
17 895140002 Болт (BOLT)

Под заказ

1

Под заказ

уточнить

Купить
18 895173 Диск (DISC)

Под заказ

2

Под заказ

уточнить

Купить
19 895146002 Шайба (WASHER)

Под заказ

1

Под заказ

уточнить

Купить
20 895146001 Шайба (WASHER)

Под заказ

1

Под заказ

уточнить

Купить
21 16192 Шайба (WASHER@10)

Под заказ

1

Под заказ

уточнить

Купить
22 853770T05 SWIVEL TUBE

Под заказ

1

Под заказ

уточнить

Купить
23 895172 Пластина (PLATE)

Под заказ

1

Под заказ

уточнить

Купить
24 895166002 Штифт (STUD)

Под заказ

2

Под заказ

уточнить

Купить
25 8M0078457 UPPER MOUNT SET

Под заказ

2

Под заказ

уточнить

Купить
26 895167002 DAMPER, Upper

Под заказ

1

Под заказ

уточнить

Купить
27 853722024 NUT

Под заказ

2

Под заказ

уточнить

Купить

Нулевая цена не означает отсутствие товара. Оформите заказ, и менеджер сообщит вам цену и наличие товара, предварительно запросив их у поставщика

Главная Магазины
Корзина0
Профиль