Мы используем cookie для наилучшего представления нашего сайта. Подробнее об этом в Политике конфиденциальности.
Ок

Каспийск

Ваш город:
Каспийск (Республика Дагестан)?
Нет
Да
Каталог
Каталог Написать в WhatsApp
Мотоэкипировка

Редуктор лодочного мотора TOHATSU 18 · 2003 — 2014

Редуктор лодочного мотора TOHATSU 18 · 2003 — 2014 в Каспийске: актуальный каталог, цены, фото, описание. Купите редуктор лодочного мотора tohatsu 18 · 2003 — 2014 в кредит – оформите заявку онлайн за 1 минуту!

Оригинальные запчасти

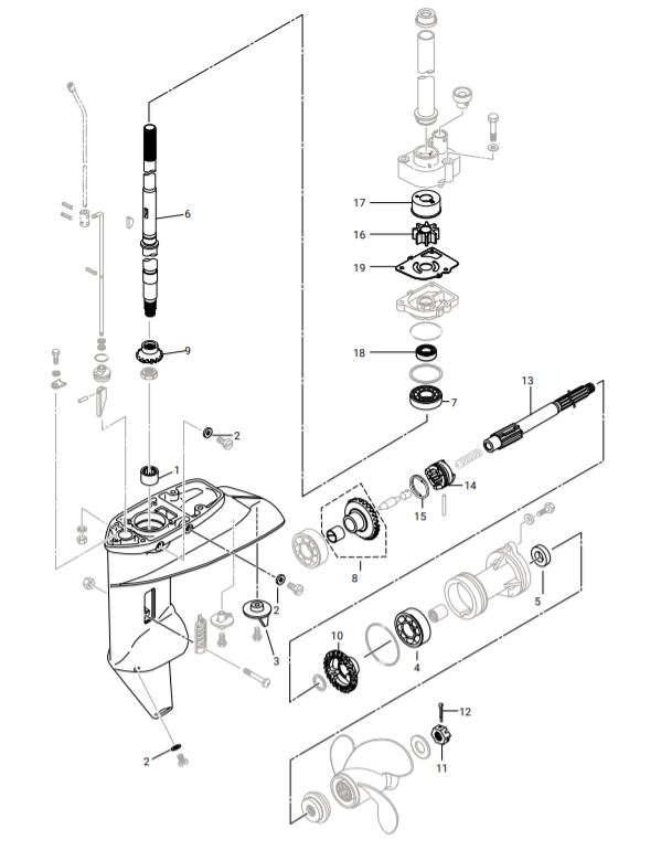
Артикул НАИМЕНОВАНИЕ Кол-во деталей в узле Примечание Наличие Цена Аналоги Фото
1 SK350-60211-0 Подшипник ведущего вала Skipper; Tohatsu

Под заказ

1

Под заказ

уточнить

Купить
2 SK3V1-60217-0 Трим 3V1-60217-0

Под заказ

1

Под заказ

уточнить

Купить
3 SK9601-0-6205 Подшипник шестерни переднего хода Skipper; Tohatsu

Под заказ

2

Под заказ

уточнить

Купить
4 SK346-65013-0 Сальник гребного вала Skipper; Tohatsu

Под заказ

1

Под заказ

уточнить

Купить
5 SK350-64301-0 Вал ведущий Skipper S; Tohatsu

Под заказ

1

Под заказ

уточнить

Купить
6 SK350-64302-0 Вал торсионный L 350-64302-0

Под заказ

1

Под заказ

уточнить

Купить
7 SK9601-0-6302 Подшипник помпы охлаждения Skipper; Tohatsu

Под заказ

1

Под заказ

уточнить

Купить
8 SK350-64010-0 Шестерня переднего хода Skipper; Tohatsu

Под заказ

1

Под заказ

уточнить

Купить
9 SK350-64020-0 Шестерня ведущего вала Skipper; Tohatsu

Под заказ

1

Под заказ

уточнить

Купить
10 SK362-64030-0 Шестерня заднего хода Skipper; Tohatsu

Под заказ

1

Под заказ

уточнить

Купить
11 SK346-64121-5 Гайка гребного винта 346-64121-5

Под заказ

1

Под заказ

уточнить

Купить
12 SK951503-0322 Шплинт фиксации гайки гребного винта 951503-0322

Под заказ

1

Под заказ

уточнить

Купить
13 SK362-64211-0 Вал гребной Skipper; Tohatsu

Под заказ

1

Под заказ

уточнить

Купить
14 SK362-64215-0 Шестерня переключения передач Skipper; Tohatsu

Под заказ

1

Под заказ

уточнить

Купить
15 SK350-64219-0 Пружина муфты переключения передач Tohatsu 9.9-18

Под заказ

1

Под заказ

уточнить

Купить
16 SK334-65021-0 Крыльчатка Skipper STANDARD; Tohatsu

Под заказ

1

Под заказ

уточнить

Купить
17 SK350-65011-1 Стакан крыльчатки Skipper; Tohatsu

Под заказ

1

Под заказ

уточнить

Купить
18 SK332-60223-0 Сальник помпы охлаждения Skipper; Tohatsu

Под заказ

1

Под заказ

уточнить

Купить
19 SK350-65025-0 Пластина помпы Skipper; Tohatsu

Под заказ

1

Под заказ

уточнить

Купить

Нулевая цена не означает отсутствие товара. Оформите заказ, и менеджер сообщит вам цену и наличие товара, предварительно запросив их у поставщика

Главная Магазины
Корзина0
Профиль