Мы используем cookie для наилучшего представления нашего сайта. Подробнее об этом в Политике конфиденциальности.
Ок

Каспийск

Ваш город:
Каспийск (Республика Дагестан)?
Нет
Да
Каталог
Каталог Написать в WhatsApp
Мотоэкипировка

Багажник задний СКУТЕРА STELS OUTLANDER 150

Багажник задний СКУТЕРА STELS OUTLANDER 150 в Каспийске: актуальный каталог, цены, фото, описание. Купите багажник задний скутера stels outlander 150 в кредит – оформите заявку онлайн за 1 минуту!

Оригинальные запчасти

Артикул НАИМЕНОВАНИЕ Кол-во деталей в узле Примечание Наличие Цена Аналоги Фото
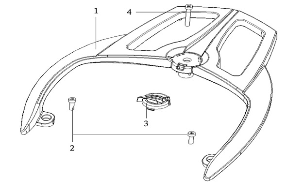
1 LU029394 Багажник задний 52002T43C900

Под заказ

1

Под заказ

уточнить

7 190

Купить
2 LU034115 Багажник задний (черный), алюм. сплав 52002T43BH00

Под заказ

1

Под заказ

уточнить

960

Купить
3 LU014078 Винт с цилиндр.головк.и шестигр.шлицем M8х1.25х 25мм, сталь 9132-08-025

В наличии

2
сталь
сталь

В наличии

80

70

Купить
4 LU034118 Крышка декоративная заднего багажника с логотипом, сталь 52003JX0T000

Под заказ

1

Под заказ

уточнить

380

Купить
5 LU034238 Болт с цил.головк.и вн.шестигр.M8х1.25х65мм, сталь B02050806565

Под заказ

1

Под заказ

уточнить

Купить

Нулевая цена не означает отсутствие товара. Оформите заказ, и менеджер сообщит вам цену и наличие товара, предварительно запросив их у поставщика

Главная Магазины
Корзина0
Профиль